Транспортирующее подъемное оборудование, виды и назначение
Для перемещения однородных штучных и сыпучих грузов в карьерах и на производственных предприятиях, на небольшие расстояниях в районе одной или связанных между собой производственных площадок применяют транспортирующие машины. Транспортирующие машины, а также подъемно-транспортное оборудование, применяемое в строительстве, делится на:
1. конвейеры — движение перемещаемому материалу сообщается механическим путем
2. пневмотраспортные установки — движение перемещаемому материалу сообщается потоком движущегося воздуха.
Конвейры в свою очередь подразделяются на:
а) Ленточные конвейеры.
Ленточные конвейеры транспортируют порошкообразных, сыпучих, мелко- и среднекусковых материалов, штучных грузов в направлении — горизонтальном и слабо наклонном. Резинотканевая лента, которая состоит из резиновых прокладок и обкладок, связанных тканевыми прокладками, является рабочим органом, по которому перемещается транспортируемый материал. Также используют ленты с завулканизированными стальными тросами малых диаметров - резинотросовые ленты. Для транспортирования горячих материалов возможно использование стальных лент.

б) Пластинчатые конвейеры.
Пластинчатые конвейеры транспортируют крупнокусковые, нагретые и абразивные, крупные штучные материалы в направлении — горизонтальным и слабо наклонном. Тяговая цепь с фасонными или плоскими пластинами, по которым транспортируют материал — является рабочим органом.

|
в) Ковшовые конвейеры.
Ковшовые конвейеры (элеваторы)
транспортируют материал в направлении — вертикальном
и с сильным наклоном.
|
![]() |
г) Скребковые конвейеры.
Скребковые конвейеры транспортируют волоком по желобу малоабразивный материал. Пластинчатая тяговая цепь является их рабочим органом. К звеньям цепи прикрепляются скребки, между которыми и транспортируется перемещаемый материал.

д) Винтовые конвейеры.
Шнековые или винтовые конвейеры перемещают вязкие и сыпучие материалы в направлении — горизонтальном и с слабым наклонном, иногда в вертикальном. Винт, который вращается в желобе с полукруглым днищем, является рабочим органом.

е) Роликовые конвейеры.
Роликовые конвейеры перемещают Для перемещения штучных грузов используют такое подъемное оборудование, как роликовые конвейеры — однородные и с развитой поверхностью. Приводные или неприводные вращающиеся ролики, по которым транспортируется груз, являются рабочим органом.

Лента или цепь, которая замыкается в бесконечный контур, служит тяговым элементом пластинчатых, ковшовых и ленточных конвейеров. При использовании ленты — на концах конвейера она огибает натяжные и приводные барабаны, а на трассе — опирается на ролики. При использовании цепи — на концах конвейера она огибает звездочки, а на трассе опирается колесами на направляющие. Тягового элемента роликовые винтовые конвейеры не имеют, материал перемещается с помощью рабочего элемента машины.
Пневмотранспортные установки транспортируют в большинстве своем порошкообразный и пылевидный материал, который под действием воздушного потока по трубопроводу. В месте, где загружается материал, он смешивается с воздухом в определенной концентрации, а в месте, где выгружается — отделяется от воздуха. Пневмомеханические установки являются разновидностью пневмотранспортных, в них аэрированный материал приобретает свойство текучести, перемещение материала осуществляется механическим путем.
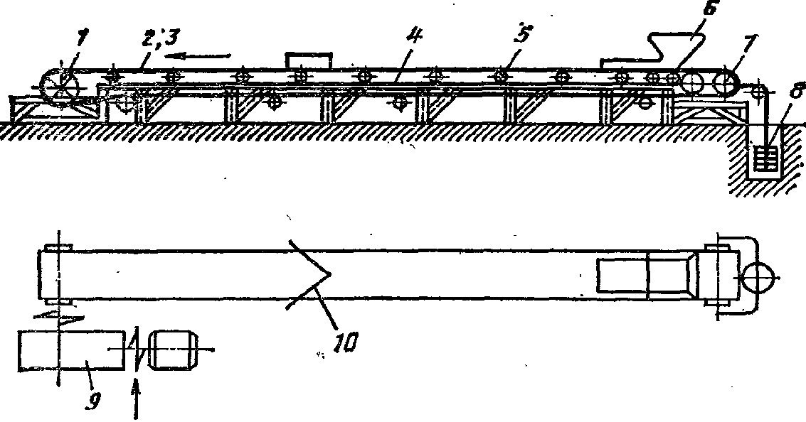
Схема конвейера
|
|
|
1- приводной барабан нлн звездочка; 2 - грузонесущий элемент; 3 - тяговый элемент (в ленточном конвейере элементы 2 и 3 совмещены); 4 - несущая рама; 5 - опоры тягового органа; 6 - загрузочное устройство; 7 - натяжной барабан или звездочка; 8 - натяжное устройство; 9 - привод конвейера; 10 - разгрузочный плужок
|
<< Бетонный завод с вертикальным перемещением поддонов | Подъёмники в строительстве и промышленности, виды и область применения >>
| На главную | Архив: информация, материалы |


